山东001在线

 找回密码
 立即注册
搜索
查看: 526|回复: 0

B-1B将进行奇葩改装,操作非常简单,只需要一个动作就能完成

[复制链接]

该用户从未签到

发表于 2020-11-14 21:44:30 | |阅读模式
作者:百战刀观察
B-1B“枪骑兵”是美军武器库中唯一的超音速战略轰炸机,虽然已经处于服役的黄昏时期,屡屡曝出因老化导致的妥善率问题,但该机制造厂家波音仍对该机痴心不改,正在积极向军方推销B-1B的一种奇葩改装方案。

B-1B将进行奇葩改装,操作非常简单,只需要一个动作就能完成-1.jpg


该方案就是将AC-130的火力与B-1B的速度与机动性结合起来,获得一种全新意义上的高速炮艇机。

B-1B将进行奇葩改装,操作非常简单,只需要一个动作就能完成-2.jpg


罗克韦尔(已被波音并购)在冷战时期研制的B-1B“枪骑兵”是一种可变后掠翼轰炸机,配备了强大的发动机,可变翼设计使其既具有惊人的速度,又有超过B-52“同温层堡垒”轰炸机的有效载荷能力。

B-1B将进行奇葩改装,操作非常简单,只需要一个动作就能完成-3.jpg


但在现代作战环境中,B-1B的超音速突防能力越来越不吃香,由于无法隐身将成为地空导弹的活靶子,将该机作为巡航导弹发射载机的话,操作成本也大幅高于B-52,因此B-1B将在B-52之前退役,被B-21隐身轰炸机取代。

B-1B将进行奇葩改装,操作非常简单,只需要一个动作就能完成-4.jpg


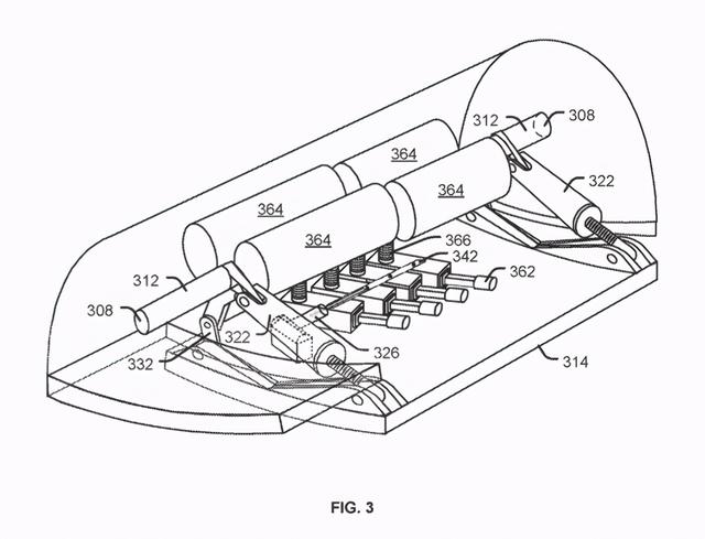
于是为了延长B-1B的服役寿命,波音在2018年提出了将该机改装为超音速炮艇机的建议。根据波音公司的专利,B-1B变身炮艇机非常简单,只需机腹后弹舱塞进直射火炮模块就行。
波音专利展示了多种不同的弹舱机炮模块解决方案,除了将机炮平台向下伸入气流,可向任意方向射击的炮塔式设计外,还有将多门机炮并列,通过弹舱一侧开口射击的侧射式设计。机炮的口径从25毫米到40毫米不等,专利示意图上的一种机炮非常类似著名的M230 30毫米“大毒蛇”。由于是模块化设计,这些机炮无需对B-1B进行重大改装就能被塞进弹舱,这意味着将大幅降低改装成本,同时也不会影响该机原先的常规轰炸能力。

B-1B将进行奇葩改装,操作非常简单,只需要一个动作就能完成-5.jpg


凭借弹舱内的炮塔式机炮,B-1B炮艇机与之前的AC-130相比将在生存能力上大幅提高,因为无需再使用环绕目标的“灯塔盘旋”侧射攻击战术,这种战术严重束缚了炮艇机,使其变成敌方防空火力的活靶子。通过360度旋转的机炮和自动火控系统,B-1B炮艇机可在低空高速飞行的剧烈机动中瞄准任意地面目标实施攻击。此外,B-1B炮艇机的高速性能还能使该机比AC-130更快地抵达战区,与后者区区590公里/小时的最大速度相比,B-1B的最高时速可达1.2马赫。
事实上,B-1B在伊拉克和阿富汗反恐战争中经常被要求执行一种另类“近距空中支援”任务,也就是机翼全后掠以低空高速姿态掠过地面武装分子的头顶,利用强大噪音和压迫力来驱散对方。这种任务相当受地面部队欢迎,以至于成为B-1B当时最频繁的任务之一。在获得弹舱机炮后,B-1B在此类任务中将获得一种低成本精确攻击地面目标的手段。

B-1B将进行奇葩改装,操作非常简单,只需要一个动作就能完成-6.jpg


目前随着B-21“突袭者”隐身轰炸机即将问世,B-1B的未来看似已经岌岌可危,但要注意一点的是具有核能力的B-21在部署和使用上将比B-1B受到更多限制。根据美国和俄罗斯之间的《第三阶段削减战略武器条约》,“枪骑兵”已经在2011年被剥夺核能力变为常规轰炸机,因此保留少量B-1B高速炮艇机无疑将能弥补B-21在执行某些常规任务上的敏感性。
这大概就是波音公司在B-1B炮艇机背后打得如意算盘。

QQ|手机版|小黑屋|Archiver|山东001在线 ( ICP11027147 )

GMT+8, 2026-4-5 06:04 , Processed in 0.043680 second(s), 26 queries , Gzip On.

Powered by Discuz! X3.4

© 2001-2023 Discuz! Team.

快速回复 返回顶部 返回列表